| Quantity: | |
|---|---|
8"-24" PIPE GROOVER (TWG-IVA)
TWG-IVA is a powerful pipe groover for easy and simple production of rolled grooves on 8"-24" (Φ219mm- Φ630mm) steel pipes. The machine comes with a complete set of necessary accessories, easy to use after quick and simple set-up.
PRODUCT FEATURES
● Enhanced Jockey Polly Assembly keeps pipe on the machine during whole grooving process.

● Included toolbox designed for storage of the spare pinch rollers and knurl wheels.
● Equipped with 4 easily detachable legs for quick set-up and easy transport.

● Available hydraulic pipe stand is a perfect complement to the heavy-duty machine.

PRODUCT SPECIFICATION

● Model No.: TWG-IVA
● Standard Capacity:
Capable of grooving 8"-24" (Φ219mm-Φ630mm) Schedule 20, Schedule 40 carbon steel pipes with maximum wall thickness of 12.7mm.
● Packing Dimension:1070mm x 750mm x 1470mm
● Weight:284KG NET/340KG GROSS
● Technical Parameter
Maximum Working Pressure | 10000kg |
Maximum Oil Cylinder Pressure | 35MPa |
Capacity of Oil Tank | 200ml |
Operating Speed | 15RPM |
Power Requirements | Three-phase, be supplied in various voltages and frequency |

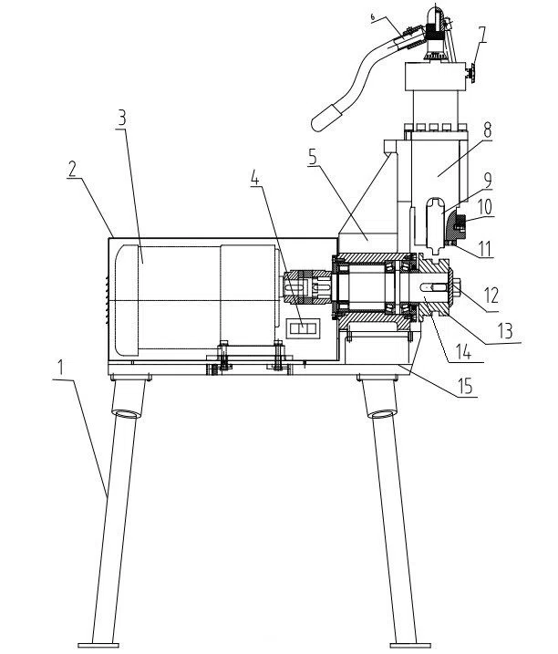
PRODUCT STRUCTURE
No. | Description | Quantity |
1 | Support Foot | One (1) |
2 | Electric Motor Housing | One (1) |
3 | Reduction Motor | One (1) |
4 | ON/OFF Switch | One (1) |
5 | Unit Head | One (1) |
6 | Handle | One (1) |
7 | Relief Valve | One (1) |
8 | Pinch Roller Φ219-Φ325 | One (1) |
Pinch Roller Φ377- Φ 426 | One (1) | |
Pinch Roller Φ480- Φ 630 | One (1) | |
9 | Pinch Roller Shaft | One (1) |
10 | Fastening Screw M10 | One (1) |
11 | Fastening Screw for Spindle | One (1) |
12 | Knurl wheel Φ219-Φ530 | One (1) |
Knurl wheel Φ630 | One (1) | |
13 | Main Shaft | One (1) |
GENERAL NOTICES
● The operators shall observe in-house safety rules.
● The machine shall be operated by a dedicated person who are well-trained, familiar with the User’s Manual and fully aware of the functions of each part.
● Before starting the machine, you shall make sure all the handles, buttons and protective facilities are at their intended places, and all the humans are sufficiently far away from the machine.
● When the machine is running, don’t touch any moving parts. Don’t attempt to remove debris or shoot troubles until the machine comes to stop.
● Refill the oil and do lubrication as instructed in the User’s Manual.
PRODUCT APPLICATION
Roll grooving is widely used in the specialist installation such as sprinkler systems, commercial heating, industry and mining etc.
A small groove is made at the end of each pipe with a grooving machine. Two grooved pipes are connected by a two-part coupling which is screwed together with two bolts and nuts.
This flexible connection allows for a small amount of misalignment of the pipes and easy installation and removal of a section of piping in the middle of a run.

FAQ
Q: How can I request a Product List?
A: To request a full catalog, please leave your message below, we will get back to you soon.
Q: Do you test all your goods before delivery?
A: Yes, we have 100% test before delivery.
8"-24" PIPE GROOVER (TWG-IVA)
TWG-IVA is a powerful pipe groover for easy and simple production of rolled grooves on 8"-24" (Φ219mm- Φ630mm) steel pipes. The machine comes with a complete set of necessary accessories, easy to use after quick and simple set-up.
PRODUCT FEATURES
● Enhanced Jockey Polly Assembly keeps pipe on the machine during whole grooving process.

● Included toolbox designed for storage of the spare pinch rollers and knurl wheels.
● Equipped with 4 easily detachable legs for quick set-up and easy transport.

● Available hydraulic pipe stand is a perfect complement to the heavy-duty machine.

PRODUCT SPECIFICATION

● Model No.: TWG-IVA
● Standard Capacity:
Capable of grooving 8"-24" (Φ219mm-Φ630mm) Schedule 20, Schedule 40 carbon steel pipes with maximum wall thickness of 12.7mm.
● Packing Dimension:1070mm x 750mm x 1470mm
● Weight:284KG NET/340KG GROSS
● Technical Parameter
Maximum Working Pressure | 10000kg |
Maximum Oil Cylinder Pressure | 35MPa |
Capacity of Oil Tank | 200ml |
Operating Speed | 15RPM |
Power Requirements | Three-phase, be supplied in various voltages and frequency |

PRODUCT STRUCTURE
No. | Description | Quantity |
1 | Support Foot | One (1) |
2 | Electric Motor Housing | One (1) |
3 | Reduction Motor | One (1) |
4 | ON/OFF Switch | One (1) |
5 | Unit Head | One (1) |
6 | Handle | One (1) |
7 | Relief Valve | One (1) |
8 | Pinch Roller Φ219-Φ325 | One (1) |
Pinch Roller Φ377- Φ 426 | One (1) | |
Pinch Roller Φ480- Φ 630 | One (1) | |
9 | Pinch Roller Shaft | One (1) |
10 | Fastening Screw M10 | One (1) |
11 | Fastening Screw for Spindle | One (1) |
12 | Knurl wheel Φ219-Φ530 | One (1) |
Knurl wheel Φ630 | One (1) | |
13 | Main Shaft | One (1) |
GENERAL NOTICES
● The operators shall observe in-house safety rules.
● The machine shall be operated by a dedicated person who are well-trained, familiar with the User’s Manual and fully aware of the functions of each part.
● Before starting the machine, you shall make sure all the handles, buttons and protective facilities are at their intended places, and all the humans are sufficiently far away from the machine.
● When the machine is running, don’t touch any moving parts. Don’t attempt to remove debris or shoot troubles until the machine comes to stop.
● Refill the oil and do lubrication as instructed in the User’s Manual.
PRODUCT APPLICATION
Roll grooving is widely used in the specialist installation such as sprinkler systems, commercial heating, industry and mining etc.
A small groove is made at the end of each pipe with a grooving machine. Two grooved pipes are connected by a two-part coupling which is screwed together with two bolts and nuts.
This flexible connection allows for a small amount of misalignment of the pipes and easy installation and removal of a section of piping in the middle of a run.

FAQ
Q: How can I request a Product List?
A: To request a full catalog, please leave your message below, we will get back to you soon.
Q: Do you test all your goods before delivery?
A: Yes, we have 100% test before delivery.